САЛЬНИК РАСПРЕДВАЛА VW 32X47X10

Товар

1 385  ₽
САЛЬНИК РАСПРЕДВАЛА VW 32X47X10

Доставка

  • Почта России

    1290 ₽

  • Курьерская доставка EMS

    1615 ₽

Характеристики

Артикул
12426782867
Состояние
Новый
Typ samochodu
Autobusy
Producent części
Elring
Numer katalogowy części
129.780
Numer katalogowy oryginału
AUDI 038 103 085 A
Numery katalogowe zamienników
WILMINK GROUP WG1004754

Specyfikacja techniczna produktu

Materiał
PTFE (Polytetrafluorethylen)/ACM (Polyacryl-Kautschuk)
Rodzaj gwintu
Gwint prawoskrętny
Wersja TecDoc
2336
Wysokość [mm]
10
Typy referencyjne
wymienialny
Ochrona przeciwpyłowa
z uszczelką wargową przeciwpyłową
Średnica wewnętrzna [mm]
32
średnica zewnętrzna [mm]
47
Rodzaj uszczelnienia promieniowego wału
ASW

Описание

USZCZELNIACZ SIMMERING WAŁKA ROZRZĄDU VW 32X47X10

❗❗❗ W jednym modelu auta, mogą występować różne warianty części. W przypadku niepewności o właściwy dobór części, zalecana jest weryfikacja wg numeru VIN

USZCZELNIACZ SIMMERING WAŁKA ROZRZĄDU VW 32X47X10

Uszczelniacz / pierścień uszczelniający wału / simmering

  • Numer części: 129.780 ELRING
  • Producent: ELRING
  • Ilość: 1 sztuka

Stan części: nowa, oryginalnie zapakowana przez producenta.

USZCZELNIACZ SIMMERING WAŁKA ROZRZĄDU VW 32X47X10 Typ samochodu Autobusy Samochody ciężarowe Samochody dostawcze Samochody osobowe

Parametry:

  • z uszczelką wargową przeciwpyłową
  • skręt prawostronny
  • PTFE (Teflon) / ACM (poliakryl-kauczuk)
  • Szerokość [mm] : 10
  • Średnica wewnętrzna [mm] : 32
  • Średnica zewnętrzna [mm] : 47
  • Ukształtowanie uszczelki w układzie poprzecznym wału : ASW
USZCZELNIACZ SIMMERING WAŁKA ROZRZĄDU VW 32X47X10 Producent części Elring

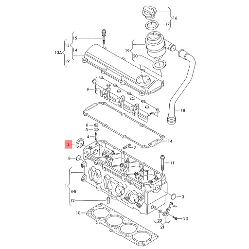
Na rysunku technicznym:

  • miejsce montażu oznaczono jako: "2"

Zastosowanie:

Silniki:

  • ADR, 92-95kW, 125-129HP, 1781ccm
  • AEB, 110-112kW, 150-152HP, 1781ccm
  • AEH, 74kW, 101HP, 1595ccm
  • AFY, 85kW, 115HP, 1781ccm
  • AGA, 121kW, 165HP, 2393ccm
  • AGN, 92kW, 125HP, 1781ccm
  • AGR, 66kW, 90HP, 1896ccm
  • AGU, 110kW, 150HP, 1781ccm
  • AHF, 81kW, 110HP, 1896ccm
  • AHH, 66kW, 90HP, 1896ccm
  • AHL, 74kW, 100HP, 1595ccm
  • AJG, 120kW, 163HP, 2393ccm
  • AJK, 169kW, 230HP, 2671ccm
  • AJL, 132kW, 180HP, 1781ccm
  • AJM, 85kW, 115HP, 1896ccm
  • AJP, 92kW, 125HP, 1781ccm
  • AJQ, 132kW, 180HP, 1781ccm
  • AKL, 74kW, 101HP, 1595ccm
  • ALF, 121kW, 165HP, 2393ccm
  • ALH, 66kW, 90HP, 1896ccm
  • ALT, 96kW, 130HP, 1984ccm
  • ALW, 100kW, 136HP, 2393ccm
  • ALZ, 75kW, 102HP, 1595ccm
  • AMB, 125-127kW, 170-173HP, 1781ccm
  • AMF, 55kW, 75HP, 1422ccm
  • AMK, 154kW, 209HP, 1781ccm
  • AML, 121kW, 165HP, 2393ccm
  • AMM, 120kW, 163HP, 2393ccm
  • AMU, 165-168kW, 224-228HP, 1781ccm
  • AMX, 142kW, 193HP, 2771ccm
  • ANA, 74kW, 100HP, 1595ccm
  • ANB, 110kW, 150HP, 1781ccm
  • ANQ, 92kW, 125HP, 1781ccm
  • ANU, 66kW, 90HP, 1896ccm
  • ANY, 45kW, 61HP, 1191ccm
  • APB, 186-187kW, 253-254HP, 2671ccm
  • APC, 115kW, 156HP, 2393ccm
  • APF, 74kW, 101HP, 1595ccm
  • APG, 92kW, 125HP, 1781ccm
  • APP, 132kW, 180HP, 1781ccm
  • APS, 121kW, 165HP, 2393ccm
  • APT, 92kW, 125HP, 1781ccm
  • APU, 110kW, 150HP, 1781ccm
  • APX, 165kW, 224HP, 1781ccm
  • APY, 154kW, 209HP, 1781ccm
  • APZ, 120kW, 163HP, 2393ccm
  • AQA, 110kW, 150HP, 1781ccm
  • AQE, 92kW, 125HP, 1781ccm
  • ARE, 184kW, 250HP, 2671ccm
  • ARG, 92kW, 125HP, 1781ccm
  • ARH, 92kW, 125HP, 1781ccm
  • ARJ, 121kW, 165HP, 2393ccm
  • ARK, 110kW, 150HP, 1781ccm
  • ARM, 74kW, 100HP, 1595ccm
  • ARN, 100kW, 136HP, 2393ccm
  • ARX, 110kW, 150HP, 1781ccm
  • ARY, 132kW, 180HP, 1781ccm
  • ARZ, 110kW, 150HP, 1781ccm
  • ASM, 100kW, 136HP, 2393ccm
  • ASZ, 96kW, 130HP, 1896ccm
  • ATC, 132kW, 180HP, 1781ccm
  • ATD, 74kW, 101HP, 1896ccm
  • ATJ, 85kW, 115HP, 1896ccm
  • ATL, 66kW, 90HP, 1422ccm
  • ATX, 140kW, 190HP, 2771ccm
  • AUL, 154kW, 209HP, 1781ccm
  • AUM, 110kW, 150HP, 1781ccm
  • AUQ, 132kW, 180HP, 1781ccm
  • AVB, 74kW, 101HP, 1896ccm
  • AVF, 96kW, 130HP, 1896ccm
  • AVJ, 110kW, 150HP, 1781ccm
  • AVU, 75kW, 102HP, 1595ccm
  • AVV, 92kW, 125HP, 1781ccm
  • AWA, 110kW, 150HP, 1984ccm
  • AWL, 110kW, 150HP, 1781ccm
  • AWM, 125kW, 170HP, 1781ccm
  • AWP, 132-134kW, 180-182HP, 1781ccm
  • AWT, 110kW, 150HP, 1781ccm
  • AWX, 96kW, 130HP, 1896ccm
  • AXA, 85kW, 115HP, 1984ccm
  • AXR, 74kW, 100HP, 1896ccm
  • AXW, 110kW, 150HP, 1984ccm
  • AXX, 147kW, 200HP, 1984ccm
  • AZA, 169kW, 230HP, 2671ccm
  • AZV, 100kW, 136HP, 1968ccm
  • BAM, 165kW, 224HP, 1781ccm
  • BBG, 140kW, 190HP, 2771ccm
  • BDV, 125kW, 170HP, 2393ccm
  • BEL, 187-195kW, 254-265HP, 2671ccm
  • BES, 184kW, 250HP, 2671ccm
  • BEX, 140kW, 190HP, 1781ccm
  • BFB, 120kW, 163HP, 1781ccm
  • BFQ, 75kW, 102HP, 1595ccm
  • BFV, 176kW, 239HP, 1781ccm
  • BGB, 147kW, 200HP, 1984ccm
  • BGU, 75kW, 102HP, 1595ccm
  • BHC, 55kW, 75HP, 1422ccm
  • BHZ, 195kW, 265HP, 1984ccm
  • BJZ, 85kW, 115HP, 1984ccm
  • BKB, 120kW, 163HP, 1781ccm
  • BKC, 77kW, 105HP, 1896ccm
  • BKD, 103kW, 140HP, 1968ccm
  • BKE, 85kW, 116HP, 1896ccm
  • BLB, 103kW, 140HP, 1968ccm
  • BLR, 110kW, 150HP, 1984ccm
  • BLS, 77kW, 105HP, 1896ccm
  • BLX, 110kW, 150HP, 1984ccm
  • BLY, 110kW, 150HP, 1984ccm
  • BMB, 110kW, 150HP, 1984ccm
  • BMM, 103kW, 140HP, 1968ccm
  • BMN, 125kW, 170HP, 1968ccm
  • BNA, 100kW, 136HP, 1968ccm
  • BPG, 147kW, 200HP, 1984ccm
  • BPJ, 125kW, 170HP, 1984ccm
  • BPW, 103kW, 140HP, 1968ccm
  • BPY, 147kW, 200HP, 1984ccm
  • BRB, 85kW, 116HP, 1896ccm
  • BRC, 100kW, 136HP, 1968ccm
  • BRD, 125kW, 170HP, 1968ccm
  • BRE, 103kW, 140HP, 1968ccm
  • BRF, 100kW, 136HP, 1968ccm
  • BRY, 74kW, 101HP, 1595ccm
  • BSE, 75kW, 102HP, 1595ccm
  • BSF, 75kW, 102HP, 1595ccm
  • BUL, 162kW, 220HP, 1984ccm
  • BUY, 120kW, 163HP, 1968ccm
  • BVA, 120kW, 163HP, 1968ccm
  • BVF, 93kW, 126HP, 1968ccm
  • BVG, 89kW, 121HP, 1968ccm
  • BVP, 120kW, 163HP, 1781ccm
  • BVR, 140kW, 190HP, 1781ccm
  • BVY, 110kW, 150HP, 1984ccm
  • BVZ, 110kW, 150HP, 1984ccm
  • BWA, 147kW, 200HP, 1984ccm
  • BWE, 147kW, 200HP, 1984ccm
  • BWT, 147-149kW, 200-203HP, 1984ccm
  • BXE, 77kW, 105HP, 1896ccm
  • BYK, 125kW, 170HP, 1984ccm
  • BZC, 188kW, 256HP, 1984ccm
  • CAYB, 66kW, 90HP, 1598ccm
  • CAYC, 77kW, 105HP, 1598ccm
  • CBZA, 63kW, 86HP, 1197ccm
  • CBZB, 77kW, 105HP, 1197ccm
  • CCSA, 75kW, 102HP, 1595ccm
  • CDLA, 195kW, 265HP, 1984ccm
  • CDLB, 200kW, 272HP, 1984ccm
  • CDLC, 188kW, 256HP, 1984ccm
  • CDLH, 188kW, 256HP, 1984ccm
  • CDMA, 195kW, 265HP, 1984ccm
  • CMXA, 75kW, 102HP, 1595ccm

Numery OE / zamienne:

  • 038 103 085 A [AUDI]
  • 038 103 085 C [AUDI]
  • 68001164AA [CHRYSLER]
  • 038 103 085 A [CUPRA]
  • 038 103 085 C [CUPRA]
  • 68001164AA [DODGE]
  • 1 232 133 [FORD]
  • 68001164AA [JEEP]
  • 8M0066303 [MERCURY MARINE]
  • MN980030 [MITSUBISHI]
  • 68001164AA [RAM]
  • 038 103 085 A [SEAT]
  • 038 103 085 C [SEAT]
  • 038 103 085 A [SKODA]
  • 038 103 085 C [SKODA]
  • 8 658 642 [VOLVO]
  • 038 103 085 A [VW]
  • 038 103 085 C [VW]
  • 052-3991
  • 06B103085A
  • 109 382
  • 129.780
  • 15087000
  • 20026413
  • 20026413B
  • 38238
  • 50-319433-00
  • 67773
  • 7492207
  • 77181
  • 80-34367-00
  • 81-34367-00
  • 8456051
  • EL 129.780
  • ELR 129.780
  • NA5124
  • OS8325
  • P77181-01
  • TCS 45357
  • TCS 46005
  • V10-3260

Гарантии

  • Гарантии

    Мы работаем по договору оферты и предоставляем все необходимые документы.

  • Лёгкий возврат

    Если товар не подошёл или не соответсвует описанию, мы поможем вернуть его.

  • Безопасная оплата

    Банковской картой, электронными деньгами, наличными в офисе или на расчётный счёт.

Отзывы о товаре

Рейтинг товара 4.95 / 5

226 отзывов

Russian English Polish