ПРИБОР ГРМ OPEL 2.0 CDTI B20DTH ECOFLEX
Товар
- 3 раза купили
- 4.84 оценка
- 4 осталось
- 25 отзывов
Доставка
Характеристики
Описание
ST07055
Blokada rozrządu Opel 2.0 CDTI, EcoFLEX.
Nadaje się do silników Opel CD / Vauxhall 2.0 CDTi i 2.0 CDTi EcoFLEX od 2014 roku.
Zastosowanie:
Opel / Vauxhall: Cascada, Insignia, Insignia Country Tourer, Zafira-C Tourer.
Zestaw blokad do wymiany paska napędzającego wałek rozrządu do 2.0 CDTI Opel/Vauxhall. Zestaw zawiera także narzędzie do blokowania koła zamachowego w autach z automatycznym przeniesieniem.
Zastosowanie: Opel 2.0 CDTI - LFS/B20DTH (2.0 CDTi od 2014)
Zastosowanie: Cascada 2015-2017, Insignia 2014-2017, Insignia Country Tourer 2014-2017 i Zafira-C Tourer, CDTi EcoFLEX
Odpowiednik OEM EN 51413, EN 955-2, EN 51412, EN 51414, EN 51411
Zestaw niezbędny przy wymianie łańcucha napędzającego cylinder głowicy.
Kody silnika: LFS / B20DTH.
Numer OEM .:
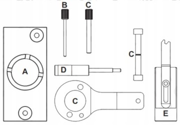
A - EN-51413-2 (Narzędzie do blokowania koła łańcuchowego pompy paliwa pod wysokim ciśnieniem)
B - EN-955-2 (Sworzeń blokujący napinacz paska pomocniczego)
C - EN-51412 (Narzędzie rozrządu wału korbowego)
D - EN-51414 (Sworzeń blokujący wał korbowy)
E - EN-51411 (Narzędzie do trzymania wału korbowego)
Zamiennik: 904 015 70
2.0 CDTi EcoFLEX Blueinjection
- LFO/D20DTR
- LFS/D20DTJ
- LFS/D20DTH
- LFS/B20DTR
- LFS/B20DTJ
- LFS/B20DTH
Гарантии
- Гарантии- Мы работаем по договору оферты и предоставляем все необходимые документы. 
- Лёгкий возврат- Если товар не подошёл или не соответсвует описанию, мы поможем вернуть его. 
- Безопасная оплата- Банковской картой, электронными деньгами, наличными в офисе или на расчётный счёт. 
