КАНАЛЬНЫЙ ПОДЪЕМ 5 т + траверса_____АВТОМЕТ

Товар

92 782  ₽
Пошлина ≈8 417 ₽ не входит в цену.
КАНАЛЬНЫЙ ПОДЪЕМ 5 т + траверса_____АВТОМЕТ

Доставка

  • Почта России

    от 990 ₽

  • Курьерская доставка EMS

    от 1290 ₽

Характеристики

Артикул
13437509400
Состояние
Новый
Udźwig
5000 kg

Описание

PODNOŚNIK KANAŁOWY PK-50

Podnośnik kanałowy PK-50 przeznaczony jest do częściowego podnoszenia pojazdu oraz demontażu skrzyni biegów na kanale warsztatowym w celu przeprowadzenia prac przeglądowych i naprawczych.

.

charakterystyka:

  • Rolki walcowe
  • Maksymalny udźwig - 5 t
  • Wysokość podnoszenia (wysuw tłoczyska) - 490 mm
  • Pompa hydrauliczna ręczna dwutłoczkowa (szybka)
  • Podnośnik dostosowany jest do szerokości kanału (kanał o dowolnej szerokości)

.

Każdy podnośnik posiada bezstopniową regulację w celu dokładnego dopasowania do danego kanału.

Siłownik montowany jest w pozycji obniżonej – jest równo z posadzką, na życzenie może być zamontowany w pozycji standardowej – wystaje około 50 mm (dla typowego obrzeża kanału).

Użytkownik może sam zmienić wysokość siłownika – wystarczy odkręcić 4 nakrętki M16, odwrócić mały wózek i z powrotem przykręcić nakrętki (zdjęcia).

Wsporniki osiek (w 4 rogach) wystają około 10 - 20 mm ponad posadzkę.

Każdy siłownik jest sprawdzany na prasie w zakresie mocy, trzymania ciśnienia oraz przecieków.

.

Podnośnik posiada:

  • instrukcję BHP (do powieszenia na ścianie)
  • deklarację zgodności na znak CE
  • kartę gwarancyjną
  • instrukcję obsługi

***

Wyposażenie dodatkowe (wchodzi w skład tego kompletu):

TRAWERS – belka poprzeczna

Po nałożeniu na siłownik umożliwia podparcie dwupunktowe pojazdu – przodu lub tyłu.

Posiada wysuwane ramiona oraz regulowane nasadki gumowe.

  • Maksymalny udźwig                  3,5 - 2 t (ramiona wsunięte – wysunięte)
  • Rozstaw ramion                         820 – 1200 mm
  • Wykręcane nasadki gumowe    0 – 50 mm
  • Całkowita wysokość nasadki    150 mm

.

~~~~~~~~~~~~~~~~~~~~~~~~~~~~~~~~~~~~~~~~~~~~~~~~~~~

CENA całego kompletu 2425 zł

~~~~~~~~~~~~~~~~~~~~~~~~~~~~~~~~~~~~~~~~~~~~~~~~~~~

Podnośnik malowany jest w kolorze niebieskim lub czerwonym (siłownik jest czarny).

Odbiorcami podnośników są między innymi Stacje Kontroli Pojazdów.

.

Producent:

AUTOMET

__________________________________________________________________________________________________

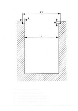
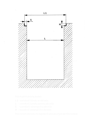
PRZY KUPNIE PROSZĘ PODAĆ (rysunek obok) :

wymiary kanału (bez luzów):

  • L1 - szerokość w obrzeżu (zakrycie kanału)
  • L - szerokość poniżej obrzeża (między ścianami)
  • S - szerokość wewnętrzna kątownika (jeździ po nim podnośnik)
  • H - wysokość wewnętrzna kątownika
  • kolor niebieski lub czerwony.

W przypadku innego obrzeża niż kątownik proszę o tym poinformować w celu dobrania odpowiednich rolek i  ich regulacji do toru jazdy podnośnika (może być potrzebny szkic kanału).

***

Alt
Alt
Alt
Alt

Siłownik z zaworem ręcznym, umożliwiającym precyzyjne opuszczanie pojazdu.

PODNOŚNIK KANAŁOWY 5 t + trawers_____AUTOMET

Гарантии

  • Гарантии

    Мы работаем по договору оферты и предоставляем все необходимые документы.

  • Лёгкий возврат

    Если товар не подошёл или не соответсвует описанию, мы поможем вернуть его.

  • Безопасная оплата

    Банковской картой, электронными деньгами, наличными в офисе или на расчётный счёт.

Отзывы о товаре

Рейтинг товара 5 / 5

5 отзывов

Russian English Polish