воздухоотводчик Оконный воздухоотводчик VT 101 - 2 шт.

Товар

3 429  ₽
воздухоотводчик Оконный воздухоотводчик VT 101 - 2 шт.

Доставка

  • Почта России

    от 990 ₽

  • Курьерская доставка EMS

    от 1290 ₽

Характеристики

Артикул
16496977884
Identyfikator produktu
16496977884
Состояние
Новый
Rodzaj
nawiewnik

Описание

Nawietrzak nawietrznik Nawiewnik do okna okien okienne VT 101 - 2 szt.

Przedmiotem aukcji jest :

Nawiewnik ciśnieniowy automatyczny

Model: Ventec VT 101

Kolor: Biały

W skład Ventec VT 101 wchodzi:

  • nawiewnik z regulatorem przepływu (część wewnętrzna)
  • czerpnia powietrza (część zewnętrzna)
  • 4 śruby montażowe i 4 zaślepki

.

Cena 87,98 zł za 2 szt. (2 komplety):

- Nawiewnika Ventec VT 101

Cena 1 szt. nawiewnika Ventec VT 101 w zestawie to 43,99 zł

.                                      .

Przeznaczona do okien: PCV, DREWNIANYCH, ALUMINIOWYCH

Materiał nawiewnika: Tworzywo ABS

Dostarczany nawiewnik jest kompletny i gotowy do montażu.

.

+ FILM "Montaż nawiewnika w oknie PCV"

- GRATIS do każdego zakupu nawiewnika (film instruktażowy w postaci elektronicznej )

- GRATIS do każdego zakupu min. 4 nawiewników ( film instruktażowy na płycie CD)

Nawietrzak nawietrznik Nawiewnik do okna okien okienne VT 101 - 2 szt. Kod producenta VENTEC VT 101 BIAŁY

Nawiewniki ciśnieniowe automatyczne - samoregulujące. Ilość dostarczanego powietrza zależy od różnicy ciśnienia na zewnątrz i wewnątrz pomieszczenia. Dzieje się tak do poziomu różnicy ciśnień,przy którym wydajność nawiewnika osiąga wartość maksymalną. Przy dalszym wzroście skrzydełka odchylają się ograniczając ilość doprowadzanego powietrza. Taka sytuacja może być spowodowana, np. podmuchem wiatru. Użytkownik ma możliwość zamknięcia przysłony ograniczając przepływ powietrza do minimum.

.

Zalety nawiewnika Ventec VT 101:

  • Czyste i świeże powietrze
  • Samoczynna wymiana powietrza uzależniona od różnicy ciśnień
  • 3 automaty ciśnieniowe
  • Płynna regulacja otwarcia i zamknięcia nawiewnika
  • Możliwość ustawienia przysłon w 18 różnych pozycjach
  • Możliwość całkowitego zamknięcia lub otwarcia nawiewnika
  • Eliminuje wilgoć z pomieszczenia
  • Idealna biel tworzywa
  • Nowoczesny i elegancki wygląd

Nawiewnik posiada dokumenty:

  • ITB - KOT Krajowa ocena techniczna
  • KDWU - Krajową deklarację właściwości użytkowych
  • Atest higieniczny

.

Ventec Vt 101 Zastosowanie

Automatyczny nawiewnik ciśnieniowy VT 101, jest urządzeniem, które w sposób kontrolowany zapewnia prawidłowy dopływ powietrza do pomieszczeń. Nawiewnik VT 101 ma zastosowanie w wentylacji mechanicznej , grawitacyjnej i hybrydowej, jako element systemu wentylacji okiennej. Nawiewnik działa samoczynnie i nie wymaga jakiegokolwiek zasilania.

.

Poniższe zdjęcie przedstawia nawiewnik VT 101 od strony wewnętrznej (od tyłu). Strzałkami pokazane są 3 niezależne automaty ciśnieniowe.

Nawietrzak nawietrznik Nawiewnik do okna okien okienne VT 101 - 2 szt. Rodzaj nawiewnik

asada działania nawiewnika VT 101

Regulator nawiewnika VT 101 wyposażony jest w 3 niezależne automaty ciśnieniowe, które to w zależności od różnicy ciśnień pomiędzy pomieszczeniem. a jego otoczeniem samoczynnie stabilizują ilość doprowadzonego powietrza , zapobiegając w ten sposób nadmiernej jego wymianie. Ponadto regulator posiada trzy niezależne przepustnice manualne umożliwiające dodatkową ręczną regulację przepływu powietrza. Dodatkowym elementem nawiewnika VT 101 jest czerpnia, której zadaniem jest ochrona przed wodą opadową i owadami.

Nawietrzak nawietrznik Nawiewnik do okna okien okienne VT 101 - 2 szt. Waga produktu z opakowaniem jednostkowym 0.18 kg

Parametry techniczne:

Wymiary:

  • 399x26x30 mm ( długość x wysokość x szerokość ) nawiewnik
  • 399x20x26 mm ( długość x wysokość x szerokość) czerpnia

.

Przepływ powietrza:

  • 27,0 m3/h przy 10 Pa
  • 33,0 m3/h przy 20 Pa

.

Izolacja akustyczna:

  • 32 db nawiewnik otwarty
  • 34 db nawiewnik zamknięty
Nawietrzak nawietrznik Nawiewnik do okna okien okienne VT 101 - 2 szt. Marka Ventec

Dostępne kolory standardowe:

  • Biały
  • Jasny brąz
  • Ciemny brąz
  • Antracyt
  • Jasny brąz/Biały
  • Ciemny brąz/Biały
  • Antracyt/Biały

Dostępne są na pozostałych Naszych aukcjach allegro.

Alt

+ FILM "Montaż nawiewnika w oknie PCV"

- GRATIS do każdego zakupu nawiewnika (film instruktażowy w postaci elektronicznej ). Film wysyłany jest na maila zaraz po zakupie.

- GRATIS do każdego zakupu min. 4 nawiewników ( film instruktażowy na płycie CD). Płyta CD dodawana jest do wysyłki nawiewników.

Film do obejrzenia na każdym komputerze, płyta w formacie CD-ROM

Płyta posiada numer ISBN 978-83-954947-1-0

.

Płyta CD zawiera film pokazowy o tym jak zamontować nawiewnik w oknach PCV. Film jest instruktażem, który krok po kroku pokazuje każdy etap montażu nawiewnika. W filmie pokazano dokładnie jakie należy wykonać po kolei czynności, aby nawiewnik i czerpnię zamontować poprawnie i nie uszkodzić okna. Materiał można podzielić na dwie części. W każdej z dwóch części filmu pokazane jest jak w prosty sposób wyznaczyć miejsce montażu nawiewnika i czerpni zewnętrznej, jak wywiercić otwory przelotowe i je wyfrezować oraz jak zamontować nawiewnik na zatrzaski lub wkręty montażowe. W części pierwszej pokazany jest sposób montażu nawiewnika w skrzydle okiennym, natomiast w drugiej pokazany jest montaż czerpni zewnętrznej na ramie okiennej. Film w całości trwa około 13 minut. Płyta nagrana jest w formacie CD-ROM i obejrzeć ją można na każdym komputerze.

Alt

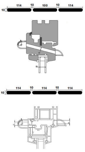
Montaż nawiewnika VT 101.

.

Na rysunku pierwszym pokazany jest montaż nawiewnika w oknie drewnianym. Pokazany jest również przekrój otworów przelotowych, wraz z jego średnicą, długością oraz odstępem między otworami.

Na rysunku drugim pokazany jest montaż nawiewnika w oknie PCV. Pokazany jest również przekrój otworów przelotowych, wraz z jego średnicą, długością oraz odstępem między otworami.

.

Do każdego zamówienia nawiewników dodajemy pełną papierową instrukcję montażu.

Nawiewniki okienne - co warto wiedzieć ?

.

Co to są nawiewniki okienne ?

Nawiewniki okienne to urządzenia montowane w celu umożliwienia prawidłowej wentylacji powietrza w zamkniętych pomieszczeniach. Powietrze wewnątrz ulega zanieczyszczeniu i zawilgoceniu poprzez oddychanie osób, gotowanie, kąpiele, opary z tworzyw sztucznych (dywany, okleiny), spalanie gazu. Nadmierna ilość wilgoci w pomieszczeniach prowadzi do rozwoju różnych grzybów stanowiących zagrożenie dla zdrowia. Dzięki zastosowaniu nawiewników w pomieszczeniu utrzymuje się stały poziom wilgotności powietrza. Zastosowanie nawiewników pozwala uniknąć niepotrzebnego otwierania okien, co na pewno jest ważne jeżeli w domu są dzieci bądź zwierzęta.

 .

Jak zapewnić prawidłową wentylację w mieszkaniu ?

Skutecznie działająca wentylacja to zorganizowana wymiana powietrza we wszystkich pomieszczeniach. Dlatego też każdy budynek mieszkalny, czy też użyteczności publicznej powinien po prostu ‘'oddychać". Budynki bez prawidłowo działającej wentylacji poddane są nadmiernemu wzrostowi wilgoci, a stąd już tylko krok do rozwoju pleśni i grzyba. Te z kolei mają bezpośredni wpływ na niszczenie konstrukcji budynków i są odpowiedzialne za wiele skutków negatywnych dla naszego zdrowia takich jak: alergie, uczucie zmęczenia, bóle głowy, choroby dróg oddechowych. Można zlikwidować te problemy lub im zapobiec montując nawiewniki powietrza. Biorąc pod uwagę warunki klimatyczne w naszych domach i pomieszczeniach, które użytkujemy, musimy rozważyć korzyści płynące z użytkowania nawiewników powietrza.

.

Czym są nawiewniki ?

Nawiewniki to urządzenia przeznaczone do kontrolowanego napływu świeżego powietrza zewnętrznego. Montuje się je w górnej krawędzi okna lub ścianie zewnętrznej budynku. Ze względu na sposób sterowania rozróżniamy następujące typy:

- ciśnieniowe, sterowane manualnie - wyposażone w przysłonę, za pomocą której zmieniamy manualnie wydajność nawiewnika.

-ciśnieniowe, automatyczne - wyposażone w automatyczną przepustnicę, która samoczynnie reguluje ilość dostarczanego powietrza, a jednocześnie użytkownik ma możliwość manualnego przymknięcia przysłony.

-higrosterowane - zamykają się i otwierają samoczynnie w zależności od zmiany względnej wartości wilgotności powietrza wewnątrz pomieszczenia.

 .

Po co stosujemy nawiewniki ? 

Coraz częściej nasze domy i mieszkania projektowane są z myślą o tym, by zarówno ocieplenie budynku, jak i wmontowane w ściany okna, charakteryzowały się możliwie jak najlepszą termoizolacją. Budując domy i mieszkania dbamy o to, by zapewnić sobie jak najwyższą temperaturę wewnątrz, pomijając często kwestię prawidłowej wentylacji w budynku. Brak przepływu powietrza powoduje nie tylko zawilgocenie ścian i występowanie pleśni, ale również poważnie naraża nasze zdrowie. Coraz częściej pojawiające się choroby cywilizacyjne takie jak alergie, czy astma, mogą być spowodowane drobnoustrojami występującymi w otoczeniu - właśnie na skutek braku świeżego powietrza. Jak możemy więc sobie poradzić z problemem wilgoci i niewłaściwej temperatury w mieszkaniu? Z myślą o Państwa wygodzie i zdrowiu stworzyliśmy nawiewniki, który spełniając wszystkie standardy bezpieczeństwa, zapewnia stały dostęp świeżego powietrza do mieszkania, nie powodując przy tym znacznego obniżenia temperatury wnętrza.

 .

Jakie nawiewniki warto wybrać ?

Bogata oferta różnego rodzaju nawiewników powoduje, że klienci często mają problem z końcowym wyborem produktu. Biorąc pod uwagę takie kryteria jak: skuteczność, praktyczność i komfort użytkowania wśród dostępnych na rynku nawiewników największą popularnością cieszą się nawiewniki ciśnieniowe. W przeciwieństwie do pozostałych typów możemy nimi samodzielnie regulować, kontrolując ilość przepływającego powietrza. To rozwiązanie umożliwia nam uzyskanie maksymalnej wydajności urządzenia, zapewnienie stałej cyrkulacji powietrza i tym samym pozbycie się na zawsze kłopotu z wilgocią w mieszkaniu.

.

NAWIEWNIK OKIENNY ZAPOBIEGA:

.

ROSZENIU SZYB – SKRAPLANIU PARY WODNEJ NA SZYBACH

Problem roszenia szyb pojawia się najczęściej w okresie zimowym, gdy temperatura na zewnątrz się obniża. W tym czasie ze względu na niższą temperaturę na zewnątrz mniej wietrzymy nasze pomieszczenia, tak aby uniknąć strat ciepła. Jednak dalej tak samo często wykonujemy takie czynności jak: gotowanie, pranie, suszenie itp., czyli czynności, przy których zwiększa się wilgotność wewnątrz pomieszczenia. Niska temperatura na zewnątrz, jak i co za tym idzie szyb oraz większa wilgotność wewnątrz pomieszczenia powodują skraplanie się pary wodnej na szybie.

.

POJAWIANIU SIĘ PLEŚNI I GRZYBÓW

Problem pleśni i grzybów pojawia się najczęściej w okresie jesienno-zimowym, gdy temperatura na zewnątrz znacząco się obniża. W tym okresie nasze okna są częściej zamknięte, niż uchylone co powoduje, że do pomieszczenia nie dostaje się odpowiednia ilość świeżego powietrza i tym samym utrzymuje się wysoki poziom wilgotności. W warunkach występowania stałej wysokiej wilgotności, pleśń i grzyby bardzo szybko się rozwijają.

.

POJAWIANIU SIĘ CIĄGU WSTECZNEGO

Ciąg wsteczny występuje w momencie, gdy ilość powietrza nawiewanego z zewnątrz, jest nieproporcjonalna do ilości powietrza wywiewanego z pomieszczenia, a dokładnie gdy ilość powietrza dostarczanego z zew. jest za mała.

.

ZATRUCIOM CZADEM – TLENKIEM WĘGLA

Okna PCV charakteryzują się wysokim parametrem szczelności i jeżeli nie są fabrycznie rozszczelnione lub nie jest zamontowany w nich nawiewnik okienny, przepływ powietrza przez nie jest bardzo mały, bliski zeru. W przypadku, gdy w pomieszczeniu dochodzi do niepełnego procesu spalania paliw, np. gazu, oleju, drewna, czy węgla powstaje tlenek węgla (czad), który nazywany jest „cichym mordercą”, ponieważ jest bezwonny, bezbarwny i pozbawiony smaku.

Гарантии

  • Гарантии

    Мы работаем по договору оферты и предоставляем все необходимые документы.

  • Лёгкий возврат

    Если товар не подошёл или не соответсвует описанию, мы поможем вернуть его.

  • Безопасная оплата

    Банковской картой, электронными деньгами, наличными в офисе или на расчётный счёт.

Отзывы о товаре

Рейтинг товара 4.86 / 5

780 отзывов

Russian English Polish