ШАТУНКА HONDA DIO AF27 AF28 SSANGYONG K389
Товар
Характеристики
Артикул
6569297161
Состояние
Новый
Producent
Vmax
Numer katalogowy części
jkkut1233391
Описание
korbowód kompletny
.
pasujący do silników Honda AF27 oraz AF28 np.:
Honda DIO SP
Honda DIO G
Honda DIO SR
Ssangyong DIO
.
FABRYCZNIE NOWY
.
w skład zestawu wchodzi:
- korbowód
- dolny sworzeń korbowodu
- łożysko sworznia
- łożysko dolne korbowodu
- podkładki dystansowe
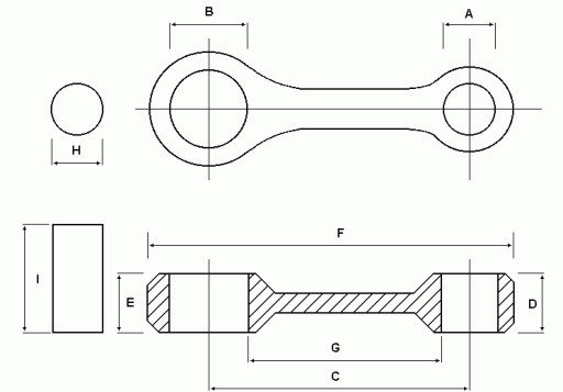
wymiary:
A - 17mm
B - 24mm
C - 80mm
D - 13,50mm
E - 13,50mm
F - 107,40mm
G - 59,50mm
H - 18mm
I - 33mm
.
wykonany solidnie i z bardzo dobrych materiałów
Гарантии
- Гарантии- Мы работаем по договору оферты и предоставляем все необходимые документы. 
- Лёгкий возврат- Если товар не подошёл или не соответсвует описанию, мы поможем вернуть его. 
- Безопасная оплата- Банковской картой, электронными деньгами, наличными в офисе или на расчётный счёт. 
