НАВЕСНОЙ ЗАМОК ABUS 718 MARINE 2x40MM ВОДОНЕПРОНИЦАЕМЫЙ ДЛЯ ЯХТЫ

Товар

2 708  ₽
НАВЕСНОЙ ЗАМОК ABUS 718 MARINE 2x40MM ВОДОНЕПРОНИЦАЕМЫЙ ДЛЯ ЯХТЫ

Доставка

  • Почта России

    от 990 ₽

  • Курьерская доставка EMS

    от 1290 ₽

Характеристики

Артикул
7485565744
Состояние
Новый
Marka
Abus
Rodzaj kłódki
na klucz
Typ kłódki
Kłódka jarzmowa
Informacje dodatkowe
Atest
Liczba kluczy w zestawie
3
Kod producenta
718/40

Parametry dodatkowe

Ilość kłódek
2
Ilość kluczy
3
Stworzone do użytku na zewnątrz
Tak
Wszystkie kłódki są otwierane przez ten sam klucz
Tak

Описание

Alt
Alt

Markowy produkt na 5 gwiazdek ***** Abus Security Tech Germany

Kłódka Marine 2 kłódki na 1 klucz wodoodporna zewnętrzna

Specyfikacja:

- produkt: nowy

- producent: Abus Security Tech Germany

- model: Marine 718/40

- ilość kłódek: 2 sztuki otwierane jednym kluczem

- ilość kluczy: 3 sztuki

- zamek zatrzaskowy

- automatyczne ryglowanie: zamykanie kłódki przez wciśnięcie jarzma bez włożonego klucza

Zalety produktu:

Wszystkie kłódki w komplecie są otwierane przez ten sam klucz co zapewnia wygodę i eliminuje potrzebę stosowania wielu kluczy tam, gdzie stosowane są liczne kłódki.

ABUS KŁÓDKA 718 MARINE 2x40MM WODOODPORNA NA JACHT EAN (GTIN) 4003318450211

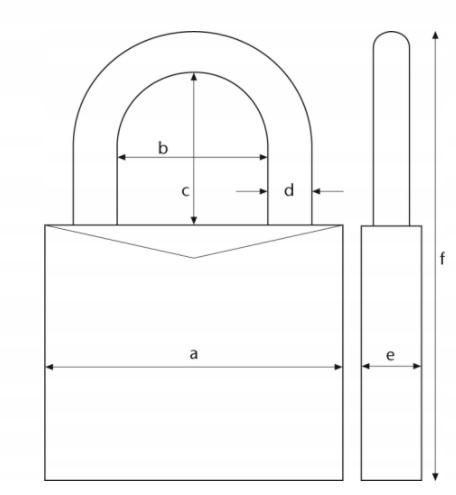
Wymiary [mm]*:

- A: 44 [szerokość]

- B: 20.5 [szerokość prześwitu jarzma]

- C: 21 [wysokość prześwitu jarzma]

- D: 6.5 Ø [średnica jarzma]

- E: 17 [głębokość]

- F: 60 [wysokość całkowita]

*Wymiary kłódek mogą nieznacznie różnić się od rzeczywistych +-1-2mm

ABUS KŁÓDKA 718 MARINE 2x40MM WODOODPORNA NA JACHT Kod producenta 718/40

Opis:

- kłódka Marine zostały stworzone do użytku na zewnątrz

- bezpieczne w ciężkich warunkach atmosferycznych

- elementy wewnętrzne ze 100% materiałów nierdzewnych

- zabezpieczenie przedmiotów o średniej wartości w miejscach o umiarkowanym ryzyku kradzieży

- łańcuchy, drzwi, bramy, szlabany, komórki, skrzynie na narzędzia, okienka piwniczne

- korpus i jarzmo z twardego mosiądzu

- plastikowa osłona korpusu

- obustronnie ryglowana

- precyzyjny mechanizm zamka chroni przed manipulacją

ABUS KŁÓDKA 718 MARINE 2x40MM WODOODPORNA NA JACHT Rodzaj kłódki na klucz

Materiały zastosowane w kłódce:

- jarzmo:

a) wykonane z mosiądzu charakteryzuje się najwyższą odpornością na korozję

- korpus:

a) wykonany z twardego mosiądzu na zewnątrz pokryty powłoką niklową

b) zapewnia to dużą odporność na korozję i przebarwienia

ABUS KŁÓDKA 718 MARINE 2x40MM WODOODPORNA NA JACHT Typ kłódki Kłódka jarzmowa
ABUS KŁÓDKA 718 MARINE 2x40MM WODOODPORNA NA JACHT Marka Abus
ABUS KŁÓDKA 718 MARINE 2x40MM WODOODPORNA NA JACHT Liczba kluczy w zestawie 3
ABUS KŁÓDKA 718 MARINE 2x40MM WODOODPORNA NA JACHT Informacje dodatkowe Atest Odporność na warunki atmosferyczne

Гарантии

  • Гарантии

    Мы работаем по договору оферты и предоставляем все необходимые документы.

  • Лёгкий возврат

    Если товар не подошёл или не соответсвует описанию, мы поможем вернуть его.

  • Безопасная оплата

    Банковской картой, электронными деньгами, наличными в офисе или на расчётный счёт.

Отзывы о товаре

Рейтинг товара 4.99 / 5

69 отзывов

Russian English Polish