ДАТЧИК ТЕРМОСТАТА МАСЛЯНОГО ОХЛАДИТЕЛЯ 40 ГРАДУСОВ M22

Товар

4 650  ₽
ДАТЧИК ТЕРМОСТАТА МАСЛЯНОГО ОХЛАДИТЕЛЯ 40 ГРАДУСОВ M22
  • 0 раз купили
  • 5  оценка
  • 10 осталось
  • 4 отзыва

Доставка

  • Почта России

    от 990 ₽

  • Курьерская доставка EMS

    от 1290 ₽

Характеристики

Артикул
8657751406
Состояние
Новый
Typ maszyny
Dźwig, żuraw, podnośnik
Marka maszyny
Atlas
Producent części
SM-D
Numer katalogowy części
1291.T40G6W45

Описание

TERMOSTAT CHŁODNICY OLEJU AL / ST

CZUJNIK 40 STOPNI

Przystosowany do pracy z napięciami:

  • 12V
  • 24V
  • 230V

Zastosowanie:

Pasuje do wszystkich chłodnic olejowych z serii AL / ST ich zamienników.

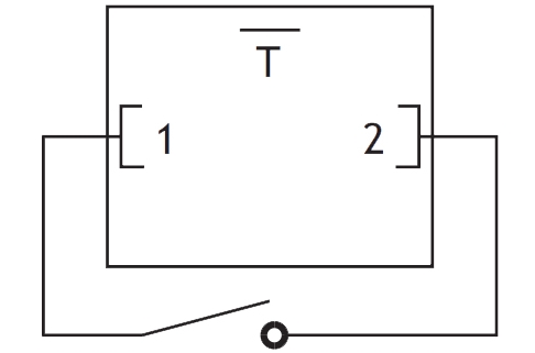
Czujnik załącza wentylator chłodnicy po przekroczeniu określonej temperatury oleju w układzie hydraulicznym.

Posiada szerokie zastosowanie w układach hydraulicznych w rolnictwie, sadownictwie, leśnictwie, budownictwie i szeroko pojętym przemyśle.

Chłodnice dostępne na naszych innych aukcjach.

TERMOSTAT CHŁODNICY OLEJU CZUJNIK 40 STOPNI M22
TERMOSTAT CHŁODNICY OLEJU CZUJNIK 40 STOPNI M22 Numer katalogowy części 1291.T40G6W45

Dane techniczne:

Ustawienie czujnika temperatury: 40°C

Tolerancja: ± 3,5 °C

Maksymalna temperatura pracy: 120°C

Maksymalne napięcie prądu: 230V

Maksymalne natężenie prądu: 10A

Gwint: M22x1.5

Гарантии

  • Гарантии

    Мы работаем по договору оферты и предоставляем все необходимые документы.

  • Лёгкий возврат

    Если товар не подошёл или не соответсвует описанию, мы поможем вернуть его.

  • Безопасная оплата

    Банковской картой, электронными деньгами, наличными в офисе или на расчётный счёт.

Отзывы о товаре

Рейтинг товара 5 / 5

4 отзыва

Russian English Polish