Трансмиссионное масло YAMALUBE GL4 250мл

Товар

1 675  ₽
Трансмиссионное масло YAMALUBE GL4 250мл
  • 8 раз купили
  • 4.92  оценка
  • 9 осталось
  • 74 отзыва

Доставка

  • Почта России

    от 990 ₽

  • Курьерская доставка EMS

    от 1290 ₽

Характеристики

Артикул
9405200154
Identyfikator produktu
9405200154
Состояние
Новый
Model
SAE90 GL-4
Rodzaj
silnik

Описание

YAMALUBE olej przekładniowy GL4 250ml Rodzaj silnik
YAMALUBE olej przekładniowy GL4 250ml Kod producenta YMD730100TA3

Olej przekładniowy Yamalube GL4 250ml.

Jest to olej do przekładni zmiany biegów w spodzinie, idealnie zabezpiecza przed korozją. Dzięki jego właściwością biegi chodzą płynnie i nie naruszają zębatek w spodzinie. Olej rekomenduje YAMAHA, można go stosować do wszystkich silników zaburtowych od 2.5 km do 250 km. Nowe uszczelki zapobiegają odkręceniu się śrub, oraz dostaniu się wody do spodziny.

Kod produktu:

YMD-73010-0T-A3

YAMALUBE olej przekładniowy GL4 250ml Marka Yamaha

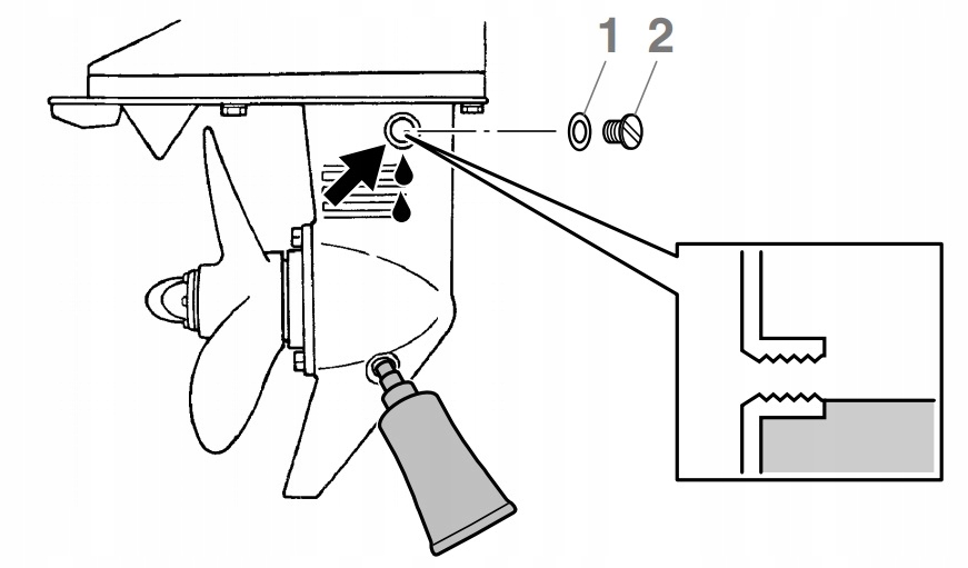
Jak wymienić olej w silniku ???

  1. Uruchamiamy silnik w zbiorniku, lub podłączamy słuchawki z wodą. Silnik ustawiamy na biegu naprzemiennie przód - tył.
  2. Wyciągamy silnik ze zbiornika lub odłączamy słuchawki.
  3. Podstawiamy miskę olejową pod nasz silnik.
  4. Odkręcamy dolną śrubę.następnie górną.
  5. Obserwujemy jakość spuszczanego oleju,czy do spodziny nie dostałą się woda.
  6. Jeśli wszystko jest OK. Przystępujemy do wymiany.

7.Tubę oleju GL4 przytykamy w dolny otwór.

8.Wyciskamy olej tak długo aż wyleci nam górnym otworem.

9.Zakręcamy górną śrubę (pamiętaj że uszczelki znajdujące pod śrubą są jednorazowe, przy każdej wymianie oleju trzeba je wymienić)

10.Zakręcamy dolną śrubę z nową uszczelką.

Jeśli wykonałeś wszystko zgodnie z instrukcją, możesz być spokojny o swoją spodzinę,jeśli w oleju była woda pomożemy w dobraniu odpowiednich simeringów.

YAMALUBE olej przekładniowy GL4 250ml Model SAE90 GL-4

Nie wiesz jaką ilość oleju zamówić do swojego silnika zaburtowego??

MODEL SILNIKA - POJEMNOŚĆ OLEJU (L)

  • F2.5A/B - 0.75 L
  • F4A - 0.1 L
  • F4B/F5A/F6C - 0.1 L
  • F6B/F8C/F8F/FT8D/FT8G - F: 0.15 / FT: 0:37 L
  • F9.9C/FT9.9D/F15A/F15B - F: 0.25 / FT: 0:37 L
  • F9.9H/F13.5B/F15C/F20B/F20C - 0.3 L
  • F20D/F25D/FT25F - F: 0.32 / FT: 0.43 L
  • F25G - 0.37 L
  • F30A/F30B/F40B/F40F - 0.43 L
  • F30B/F40F - 0.43 L
  • F40D/F50F/F50D/FT50C/F60C/FT50G/FT60T- F: 0.43 / FT: 0.67 L
  • F70A - 0.67 L
  • F80B/F100D - 0.67 L
  • F80C/F100B - 0.76 L
  • F115A/FL115A - F: 0.76 / FL: 0.72 L
  • F100F/F115B/FL115B/F130A - F: 0.76 / FL: 0.72 L
  • F150A/FL150A/F150D/FL150D - F: 0.98 / FL: 0.87 L
  • F175A - 0.98 L
  • F200F/FL/200F/F200G/FL200G - 0.98 L
Alt

Nie wiesz jaką ilość oleju zamówić do swojego silnika zaburtowego??

MODEL SILNIKA - POJEMNOŚĆ OLEJU (L)

  • 4A/B/C~5C - 0.1 L
  • 6C ~ 8C - 0.16 L
  • 9.9D / 9.9F ~ 15D / 15F - 0.19 L
  • 20C - 0.18 L
  • 20D ~ 25D - 0.37 L
  • 25B/X ~ 30H - 0.32 L
  • 25J ~ 30D 0.2 L
  • 40V/X/Y ~ 50H - 0.43 L
  • 50G ~ 55B - 0.5 L
  • 60F / 70B / 75A / 80A / 85A / 90A - 0.61 L
  • 115A ~ 130C - 0.61 L
  • 150A/F/G/J - 0.98 / L: 0.87 L
  • Z150P ~ Z200P - Z: 0.98 / LZ: 0.87 L
  • 175A/B/D/F/G/H ~ 200G - 0.98 L
  • 200A/C/F/H/J - 0.98 / L: 0.87 L
  • Z200N / LZ200N ~ Z: 0.98 / LZ: 0.87 L
  • Z200P/Q - 0.98 L
  • 225B/C/D/F/G/H ~ 250A/C/D/G - 1.15  / L: 1.0 L
  • Z250C/D/F - LZ250C/D/F ~ Z300A/LZ300A - Z: 1.15 / LZ: 1.0 L
  • Z300B - 1.0 L

Гарантии

  • Гарантии

    Мы работаем по договору оферты и предоставляем все необходимые документы.

  • Лёгкий возврат

    Если товар не подошёл или не соответсвует описанию, мы поможем вернуть его.

  • Безопасная оплата

    Банковской картой, электронными деньгами, наличными в офисе или на расчётный счёт.

Отзывы о товаре

Рейтинг товара 4.92 / 5

74 отзыва

Russian English Polish